老师期间损益结转的科目有哪些?

通知:《会计宝免费答疑群》已上线,席位有限,尽快加入

2025/11/4 14:53:32

老师期间损益结转的科目有哪些?

期间损益结转的科目指损益类科目,比如管理费用/主营业务收入/主营业务成本等

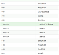
财务费用、营业外支出、所得税费用

嗯嗯

微信扫码获取同类问题
收藏
微信扫码获取相关问题

答疑详情
每个问题,2个老师,一答一审,确保准确 已审核

王苗苗老师中级职称答疑老师
通知:《会计宝免费答疑群》已上线,席位有限,尽快加入
向老师提问

2025-11-04 14:5391161931

老师期间损益结转的科目有哪些?
会计宝
会计宝

王苗苗老师2025-11-04 14:56

期间损益结转的科目指损益类科目,比如管理费用/主营业务收入/主营业务成本等
推荐你:加入免费答疑群,点击入群
会计宝

王苗苗老师2025-11-04 14:58

会计宝
会计宝

王苗苗老师2025-11-04 14:59

财务费用、营业外支出、所得税费用

2025-11-04 15:0491161931

会计宝
会计宝

王苗苗老师2025-11-04 15:22

嗯嗯
王苗苗老师

王苗苗老师2025-11-04 15:23

同学,我这有个会计宝的免费答疑群,挺好的,可以加进去看看
会计宝免费答疑群
问题答疑,案例知识分享,席位有限,尽快加入
点击查看详情

问答已结束!

点击展开全文 (7条)
发送
微信提问-边问边搜 每个问题,2个老师,一答一审,确保准确
378名专家老师,3分钟快速回复,已有120861会计人, 提问了198847 个问题
李伟老师
信用得分
36616
综合排名
7
答疑级别
高级老师
中级会计师,税务师,财务经理
擅长:企业账务实操处理
评分 4.6
/
已答 5925
/
打赏 154次
添加微信
andy老师
信用得分
34967
综合排名
9
答疑级别
高级老师
税务师,财务经理
擅长:出纳,商业,工业制造,建筑工程,服务业
评分 4.65
/
已答 6164
/
打赏 122次
添加微信
王苗苗老师
信用得分
73715
综合排名
1
答疑级别
专家老师
中级职称
擅长:商业,工业制造,餐饮酒店,个体工商户,服务业,运输业,物业,农业,高新企业,其他行业
评分 4.73
/
已答 11676
/
打赏 218次
添加微信

登录查看全文

发送验证码
直接提问-边问边搜 每个问题,2个老师,一答一审,确保准确
378名专家老师,3分钟快速回复,已有120861会计人, 提问了198847 个问题
在线客服 2023-03-12 19:00
同学,你好,你遇到了什么问题?
发送

精选问题

微信扫码 展开全文

会计大佬的微信,放心扫
已是好友会员 点击这里
微信扫码快速登录
边问边看,提问解锁全文 每个问题,2个老师,一答一审,确保准确
378名专家老师,3分钟快速回复,已有120861会计人, 提问了198847 个问题
0/300字

添加照片

老师正在解答中,请留下手机号会通过短信提醒。

发送验证码
点击查看详情 >>

登录后,立即查看全部回答

扫码关注公众号,就登录啦 (✿◠‿◠)

公众号:会计宝

知识点详解分享 工作问题免费提问 280套资料领取
资讯政策解读 行业事件,故事分享 财会圈交流

程序小哥拼命开发中
请移至App或者小程序进行提问

微信小程序

APP下载

快速提问
新问题·点我提问
正在提问
历史提问 >
 正在加载...
加载异常,点击重新加载
暂无问答
在线客服
每个问题,2个老师,一答一审,确保准确
1 提出问题
>
2 匹配老师
>
3 回答问题
 正在加载...
加载异常,点击重新加载
投诉反馈